-
我國光纖光纜發展強勁 高清傳輸監控不是夢
據工信部統計,2014年前六個(ge) 月我國新建光纖光纜線路138.6萬(wan) 公裏,光纖光纜線路總長度達到1883.8萬(wan) 公裏,同比增長18.1%。 近年來,光纖光纜行業(ye) 在4G網絡的推動下發展迅猛。光纖通信技能的飛速...
2014-12-11 -
光纖研究再獲突破 傳輸率達255TB
近日,一種新型光纖被成功研製,此種新型光纖每秒的數據傳(chuan) 輸率可達255TB,比目前商業(ye) 光纖的帶寬效率高出21倍。 據悉,這種新型光纖擁有7條不同的核心,而普通商業(ye) 光纖中隻有1條核心可供...
2014-12-11 -
激光切割機光學元件鏡片的清洗
激光切割機光學元件鏡片的清洗: (1)透鏡的清洗:把擦鏡頭紙彎成幾折,用幾滴分析純丙酮浸濕;用浸濕的鏡頭紙輕輕擦拭鏡頭表麵,注意不能用手指壓鏡片;反複幾次,直到鏡片表麵清潔...
2014-12-09 -
淺析國內塑料光纖及光器件的發展現狀
塑料光纖進入國內(nei) 已經有10年的時間,但是基於(yu) 各種原因,國內(nei) 對塑料光纖的認識仍然不足,雖然光纖技術不斷更新換代,但是塑料光纖並沒有迎來前景大好的局麵。其塑料光纖的研發也是處於(yu) ...
2014-12-09 -
新型光纖傳輸速度達255TB/s 是傳統光纖的21倍
隨著互聯網的普及,社會(hui) 對於(yu) 通訊帶寬的需求越來越高。為(wei) 了能夠傳(chuan) 輸更多的數據,運用光纖通訊無疑是很好的選擇。近日,科學家成功地研製出一種新型光纖,每秒的數據傳(chuan) 輸率可達255TB,比...
2014-12-08 -
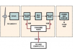
AVAGO工業光纖在風力發電站的應用
目前已有越來越多的應用采用光纖電纜和組件作為(wei) 點對點的高效率信息傳(chuan) 輸方式。 風力能源近年來已經逐漸成為(wei) 滿足快速增長能源需求下非常受到歡迎的替代電力來源,和來源有限且蘊藏量逐...
2014-12-08 -
Zayo計劃部署一條1000英裏的新暗光纖網絡
2014年12月1日,美國光纖網絡公司Zayo集團(紐交所:ZAYO)宣布,它打算在內(nei) 華達州的奧馬哈和德克薩斯州的達拉斯之間部署一條1000英裏的暗光纖網絡。 Zayo表示,它預計在2017年完成這條新路線...
2014-12-05 -
光纖技術發展快速 或向分支方向發展
近年來,科技發展的速度不斷加快,綜合布線通信行業(ye) 也正在蓬勃發展,摻鉺光纖放大器(EDFA)、分布喇曼光纖放大器(DRFA)、半導體(ti) 放大器(SOA)、光時分複用(OTDM)技術以及密集波分複用(DWDM)技術得...
2014-12-05
排行榜
編輯推薦
關注我們









