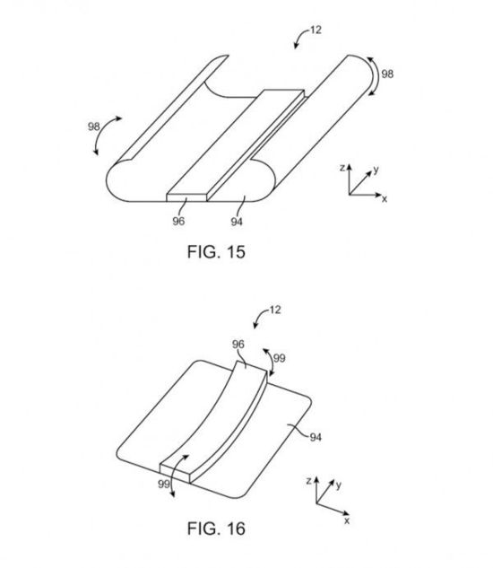
美國專(zhuan) 利與(yu) 商標局昨(1)日向蘋果公司授予54個(ge) 專(zhuan) 利,其中一個(ge) 就是柔性顯示器方麵的專(zhuan) 利,專(zhuan) 利名稱是“柔性電子設備”,涵蓋的產(chan) 品將包括靈活的外殼和內(nei) 部組件,包括有機發光二極管(OLED)顯示設備的柔性版本。
該專(zhuan) 利還描述了使用注冊(ce) 該設備的柔性傳(chuan) 感元件,可被用來進行用戶輸入。彎曲該裝置可以改變其操作模式。其它的可能性還包括將變形指定到遊戲控製係統,使用柔性傳(chuan) 感器進行開機或者關(guan) 機操作。
該專(zhuan) 利也指出柔性設備因為(wei) 吸收撞擊力的能力,而更耐跌落和破壞。蘋果公司指出,這項專(zhuan) 利可以用在iphoness,ipads上,和其他穿戴設備當中。
之前,多個(ge) 報道稱蘋果將在2018年推出使用OLED顯示屏的iphoness手機,據稱三星已經接近和蘋果達成協議,為(wei) 後者未來的iphoness提供柔性OLED顯示屏,三星將為(wei) 此投資74.7億(yi) 美元增添相關(guan) 生產(chan) 設備。
除了三星顯示之外,友達光電,LG和日本顯示公司也將生產(chan) 柔性OLED顯示屏,這三家公司目前都是蘋果iphoness顯示屏供應商。

轉載請注明出處。







相關文章
熱門資訊
精彩導讀



















關注我們

