-
電源逆變器的製造工藝
1.電源逆變器的持續輸出功率與(yu) 峰值輸出功率有什麽(me) 不同? 持續功率和峰值功率因其表達的意義(yi) 而不同。 持續負載=電流值220(交流電壓) 啟動負載=2功率值 一般而言,電器或電動工具的啟動...
2012-05-21 -
開關電源和模擬電源的區別
模擬電源:即變壓器電源,通過鐵芯、線圈來實現,線圈的匝數決(jue) 定了兩(liang) 端的電壓比,鐵芯的作用是傳(chuan) 遞變化磁場,(我國)主線圈在50HZ頻率下產(chan) 生了變化的磁場,這個(ge) 變化的磁場通過鐵芯傳(chuan) 遞...
2012-05-18 -
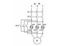
晶閘管軟起動的移相原理
摘要: 本文介紹了通用晶閘管軟起動控製器的工作原理,該工作原理即移相原理,移相原理是目前所有晶閘管軟起起動器共同采用的控製方式,其控製方式下起動的電機起動電流較小,起動平穩...
2012-05-11 -
DC/DC模塊電源的選擇(二)
模塊電源應用注意事項 1、極輕載使用 一般模塊電源有最小負載限製,各廠家有所不同,普遍為(wei) 10%左右,因為(wei) 負載太輕時儲(chu) 能元件續流困難會(hui) 發生電流不連續,從(cong) 而導致輸出電壓不穩定,這是...
2012-05-07 -
DC/DC模塊電源的選擇(一)
選擇使用DC/DC模塊電源除了最基本的電壓轉換功能外,還有以下幾個(ge) 方麵需要考慮: 1. 額定功率 一般建議實際使用功率是模塊電源額定功率的30~80%為(wei) 宜(具體(ti) 比例大小還與(yu) 其他因素有關(guan) ,後麵...
2012-05-07 -
采用集成DC-DC轉換器的分布式電源係統介紹
傳(chuan) 統的分布式電源架構采用多個(ge) 隔離型DC-DC電源模塊將48V總線電壓轉換到係統電源電壓,如5V、3.3V和2.5V。然而該配置很難滿足快速響應的低壓處理器、DSP、ASIC以及DDR存儲(chu) 器的負載要求。這類器...
2012-05-05 -
金升陽新一代超薄 高可靠性隔離器
金升陽新一代超薄隔離器傳(chuan) 承了金升陽隔離器高精度、高線性度、高可靠性、高隔離耐壓、低溫漂等優(you) 良設計,以創新的設計實現產(chan) 品的低功耗設計,更關(guan) 注EMC性能設計,使產(chan) 品在EMC惡劣的環...
2012-05-05 -
新型開關電源的選用及應用分析
根據開關(guan) 電源的發展及分類,對DO/DO、AC/DC變換器的拓撲結構和特性作了闡述,結合國內(nei) 外開關(guan) 的兩(liang) 大類變換器新技術動向進行探討,敘述了開關(guan) 電源的選擇。 1 引言 隨著電力電子技術的高...
2012-04-24
排行榜
編輯推薦
關注我們









