-
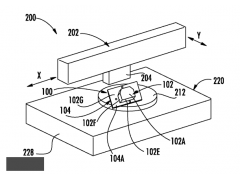
蘋果再度申報3D打印相關專利
當地時間12月26日,美國專(zhuan) 利和商標局公布了蘋果一係列新的新專(zhuan) 利申請。引人注目的是其中有一項是可以在3D物體(ti) 上打印的噴墨(inkjet)打印機的技術申請。 ...
2013-12-27 -
長沙醫院率先將3D打印技術運用到骨科手術中
隨著3D打印技術的應用日漸成熟,人們(men) 開始利用它打印出自己需要的產(chan) 品,如燈罩、身體(ti) 器官、珠寶及球鞋等,在醫療領域利用3D打印技術打印一根骨頭也不再是奇事,近日,長沙醫院應用3D打...
2013-12-27 -
盧秉恒院士:3D打印作為一個大產業還為時尚早
隨著3D打印技術越來越受到重視,3D打印產(chan) 業(ye) 的發展在短時間內(nei) 得到了迅速的膨脹,關(guan) 於(yu) 3D打印產(chan) 業(ye) 技術的前景各種叫好,使得許多企業(ye) 開始涉足3D打印領域,然而在近日舉(ju) 行的3D打印助推科技創...
2013-12-27 -
湖北3D打印產業聯盟成立 史玉升擔任理事長
記者12月26日從(cong) 湖北省科技廳獲悉,近日,湖北3D打印產(chan) 業(ye) 技術創新戰略聯盟在光穀未來科技城成立。這是湖北首個(ge) 3D打印產(chan) 業(ye) 聯盟,現有成員單位20家。 上市公司中,金運激光(23.190, 0.00, 0.00%...
2013-12-26 -
3D打印行業2013重大事件TOP10
2013年對於(yu) 全球3D打印行業(ye) 來說是蓬勃發展的一年,這一年發生了許多新聞性事件,讓3D打印出現在越來越多的普通人的視野裏。臨(lin) 近年終,天工社作為(wei) 專(zhuan) 業(ye) 從(cong) 事3D打印新聞資訊報道的網絡媒體(ti) ,...
2013-12-26 -
IDC預計3D打印機出貨量到2017年將增長10倍
市場研究公司IDC的硬件分析師估計,從(cong) 目前開始到2017年,3D打印機的出貨量將增長10倍。3D打印機最初隻被黑客和工程師使用,而未來將很快成為(wei) 家用商品。“打印已從(cong) 媒體(ti) 上的輸出發展成實際...
2013-12-26 -
3D打印中心落戶天津西青區中北產業園
從(cong) 天津市西青區獲悉,西青區中北高科技產(chan) 業(ye) 園引進了一個(ge) 3D打印工程技術中心,專(zhuan) 門研究和製作3D打印產(chan) 品。3D打印工程技術中心由中北高科技產(chan) 業(ye) 園與(yu) 河北工業(ye) 大學合作成立,推動3D打印技術...
2013-12-26 -
杭州3D打印聯盟正式成立
如果說起這幾年新興(xing) 的熱門行業(ye) 有哪些?3D打印肯定是其中之一。杭州的3D打印行業(ye) 同樣發展迅猛,其中有行業(ye) 的全國領軍(jun) 企業(ye) 杭州先臨(lin) 三維,研發出國內(nei) 首台生物3D打印機的杭州捷諾飛生物科...
2013-12-26
排行榜
編輯推薦
關注我們









