當地時間12月26日,美國專(zhuan) 利和商標局公布了蘋果一係列新的新專(zhuan) 利申請。引人注目的是其中有一項是可以在3D物體(ti) 上打印的噴墨(inkjet)打印機的技術申請。
噴墨打印機一般通過將微小的墨滴噴射到紙張、塑料或其它材料上以形成圖像。然而,噴墨打印機也可以用於(yu) 其它用途。例如,噴墨打印機可以用來打印導電油墨。導電性油墨是一種特殊類型的油墨,其含有導電粒子(例如,銀的粉末或片狀顆粒)的基團,它可被用來構建電路或執行相關(guan) 功能。
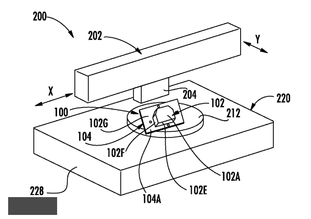
現實生活中許多物體(ti) 並不平坦,往往具有三維結構。因此,現有的噴墨打印機的功能十分有限。蘋果的專(zhuan) 利就是提供了相關(guan) 的方法和設備,可以在3D結構的電路板上噴墨打印導電油墨。

下麵是蘋果專(zhuan) 利技術文件的描述:
“噴墨打印機包括一個(ge) 打印頭用以噴出導電性油墨,同時還有一個(ge) 可以調整打印對象與(yu) 打印頭之間相對位置的裝置。調節裝置包括固定一個(ge) 打印對象比如電路板的夾具,該固定裝置能夠將打印對象的多個(ge) 非平麵的表麵露出來。旁邊還有一個(ge) 傾(qing) 斜的調節機構以調整打印對象的傾(qing) 斜夾角。另外,旋轉調節機構幫助電路板與(yu) 固定件形成一個(ge) 角度,因此,該打印對象的每一個(ge) 表麵都可以向上固定,使得打印頭可以打印在其上。”
2013年11月份蘋果就已經申請了3D打印相關(guan) 的兩(liang) 項發明。包括“逐層構建金屬玻璃零部件的方法”等。蘋果可能並不是要進入3D打印市場,而是更傾(qing) 向於(yu) 使用這些技術用於(yu) 內(nei) 部原型設計或生產(chan) 製造。
轉載請注明出處。








相關文章
熱門資訊
精彩導讀


















關注我們

