閱讀 | 訂閱
閱讀 | 訂閱
鋼材/模具

日本JFE公司的激光焊接鋼管製造工藝

星之球科技 來源:世界金屬導報2015-11-10 我要評論(0 )   

日本JFE公司最近研發了一種使用激光束來對開口管的長邊方向的邊緣部進行焊接的鋼管的製造方法,主要是涉及油井管或管線管等石油、天然氣體(ti) 的開采、輸送所適用的激光焊接...

       日本JFE公司最近研發了一種使用激光束來對開口管的長邊方向的邊緣部進行焊接的鋼管的製造方法,主要是涉及油井管或管線管等石油、天然氣體的開采、輸送所適用的激光焊接鋼管的製造方法。
       用做油井管或管線管的鋼管大致分為焊接鋼管和無縫鋼管。在這些鋼管中,電焊鋼管能夠通過將熱軋的帶狀鋼板用作原材料而低成本地製造,所以在經濟上是有利的。
       然而,電焊鋼管一般是使用成形輥將鋼板成形為圓筒狀來形成開口管,一邊用擠壓輥對該開口管的邊緣部進行加壓一邊進行電阻焊來進行製造,所以焊接的接縫必然存在,從而存在該接縫的低溫韌性劣化的問題。因此,電焊鋼管的油井管、管線管難以在寒冷地區使用。接縫的低溫韌性劣化的原因是在焊接邊緣部時高溫的熔融金屬與大氣中的氧反應而生成氧化物,該氧化物容易殘留於接縫。
       而且,電焊鋼管還存在的問題是,在焊接邊緣部,熔融金屬中的合金元素容易偏析,所以接縫地耐腐蝕性容易劣化。因此,電焊鋼管的油井管、管線管難以在高腐蝕環境下使用。
       另一方麵,作為不使接縫的低溫韌性、耐腐蝕性劣化的焊接方法,基於激光束的焊接備受關注。激光焊接能減小熱源的尺寸,並且能夠高密度集中熱能,所以能夠防止熔融金屬中的氧化物的生成、合金元素的偏析。因此,如果將激光焊接應用於製造焊接鋼管,則能夠防止接縫的低溫韌性、耐腐蝕性的劣化。
       因此,在焊接鋼管的製造過程中,通過對開口管的邊緣部照射激光束來進行焊接,從而製造鋼管的技術正實用化。然而,在激光焊接中,利用光學部件作為高密度能量光線的激光束聚光並照射到焊接部來進行焊接,所以焊接時帶來急劇的金屬熔融。因此,熔融金屬作為飛濺物從形成的熔池飛散。飛散的飛濺物附著於焊接裝置而使接縫的質量降低,並且也附著於光學部件而使焊接的施工變得不穩定。另外,在激光焊接中高密度集中熱能來進行焊接,所以大量產生飛濺物,產生下陷、不滿等焊接缺陷。如果產生不滿,則焊接部的強度降低。因此,研究各種在激光焊接中防止飛濺物的附著的技術、防止飛濺物的產生的技術。例如,通過減少激光輸出來防止飛濺物產生的技術、或使焦點位置偏離很大來防止飛濺物產生的技術正實用化。然而,存在如下問題:減少激光輸出、離焦不僅導致焊接速度降低,還容易產生焊透不良。
 
1 技術簡介
       本技術的方法如下:在製造激光焊接鋼管時,適當保證兩道激光束朝向被焊接件的入射角、正焦點處的光斑直徑,並適當排列兩道激光束,並且控製激光焊接的條件,由此防止飛濺物的產生,抑製焊接部的下陷、不滿,並且不降低焊接效率地獲得質量良好的焊接部,並且高合格率地穩定製造激光焊接鋼管。
       抑製飛濺物產生的詳細機理不確定,但可推斷是基於如下原因:使能量分散到以一定的入射角朝被焊接件照射的兩道激光束,並且在沿焊接方向先行激光束抑製飛濺物並預熱鋼板後,後行激光束熔融鋼板,從而抑製飛濺物的飛散。此外,激光束的入射角是指垂直於被焊接件的上表麵的方向與照射激光束的方向所成的角。本技術是根據這樣的觀點而完成的。
       本技術涉及的激光焊接鋼管的製造方法,利用成形輥將鋼板成形為圓筒狀的開口管,一邊利用擠壓輥對該開口管的邊緣部進行加壓一邊照射激光束來對邊緣部進行激光焊接,在上述激光焊接鋼管的製造方法中,將分別使用不同的光纖傳輸且正焦點處的光斑直徑超過0.3mm的兩道激光束沿邊緣部從開口管的上表麵側照射,將在開口管的上表麵側沿焊接方向進行先行的先行激光束以及後行的後行激光束以從垂直於開口管的上表麵的方向朝焊接進行方向傾斜所設置的入射角的方式照射,並且使先行激光束的入射角比後行激光束的入射角大,並且使開口管的背麵處的先行激光束的中心點與後行激光束的中心點之間的間隔為1mm以上,由此進行激光焊接。
       根據本技術,在製造激光焊接鋼管時,能夠防止飛濺物的產生並抑製焊接部的下陷、不滿,並且能夠不降低焊接效率地獲得質量良好的焊接部。結果,能夠高合格率地穩定製造激光焊接鋼管。得到的激光焊接鋼管的接縫的低溫韌性、耐腐蝕性優良,適用於在寒冷地區、腐蝕環境下使用的油井管、管線管。
563308eab65dc_副本
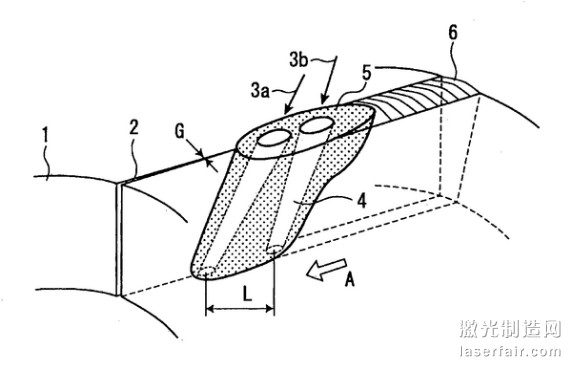
1...開口管;2...邊緣部;3...激光束;3a...先行激光束;3b...後行激光束;4...小孔(空洞);5...熔融金屬;6...接縫。
圖1 用兩道激光束焊接開口管的邊緣部的接合點的例子的立體圖

       圖1是示意性表示應用本技術來用兩道激光束焊接開口管的邊緣部的接合點的例子的立體圖。圖1中的箭頭A表示焊接進行方向。在本技術中,使兩道激光束3a、3b沿開口管1的邊緣部2從開口管1的上表麵側照射。此時,如果利用光學部件(例如棱鏡等)將由單一的光纖傳輸的激光束一分為二並且照射,則無法分別獨立地設定後述的入射角、光斑直徑。因此,需要分別使用不同的光纖傳輸兩道激光束3a、3b。可以使用1台激光振蕩器,也可以使用2台。在使用1台激光振蕩器傳輸兩道激光束的情況下,隻要將振蕩的激光在振蕩器內分割,然後,分別通過不同的光纖傳輸即可。如圖1所示,激光束3a、3b沿邊緣部2前後配置。將在開口管1的上表麵側沿焊接進行方向先行的激光束設為先行激光束3a,將後行的激光束設為後行激光束3b。

2 工藝具體實施
1)先行激光束以及後行激光束的正焦點處的光斑直徑
       在先行激光束3a、後行激光束3b的正焦點處的光斑直徑為0.3mm以下時,焊接時的焊縫的寬度變窄,產生坡口的熔融殘餘。因此,使正焦點處的光斑直徑超過0.3mm。另一方麵,如果光斑直徑超過1mm,則能量密度較小,所以小孔難以穩定。因此,先行激光束3a、後行激光束3b的正焦點處的光斑直徑優選在1mm以下。先行激光束3a、後行激光束3b的光斑形狀優選為圓形,但也可以為橢圓形(oval figure)。在光斑形狀為橢圓形的情況下,需要正對焦處的短徑超過0.3mm。而且,鑒於與上述圓形的情況相同的理由,短徑優選為1mm以下。
 
2)從開口管的上表麵到焦點的距離
       將從開口管的上表麵到焦點的距離設為t(mm),將開口管的鋼板厚設為T(mm),如果從開口管的上表麵到焦點的距離t超過3×T(即從上表麵朝上方3T),則焦點的位置過高,所以難以穩定維持小孔。另一方麵,如果超過-3×T(即從上表麵朝下方3T),則焦點的位置過深,所以容易從鋼板的背麵(即開口管的內表麵)側產生飛濺物。因此,優選將從開口管的上表麵到焦點的距離t設定在-3×T-3×T的範圍內。

3)如果將先行激光束3a的入射角θa和後行激光束3b的入射角θb設定為θa<θb,則從後行激光束3b所穿過的開口管1的上表麵到背麵的距離變長,所以後行激光束3b的能量衰減,加熱效率降低。因此,雖然獲得先行激光束3a對邊緣部2的預熱效果,但後行激光束3b對邊緣部2的熔融變得不穩定。
       另外,如果設定為θa=θb,則先行激光束3a和後行激光束3b的各小孔4容易合為一體而產生巨大的小孔,由此可能大量產生飛濺物。因此,需要將先行激光束3a和後行激光束3b的入射角設定為θa>θb。即,在先行激光束3a預熱邊緣部2時為了抑製飛濺物而增大傾斜角θa。在後行激光束3b熔融邊緣部2時為了提高加熱效率而減小傾斜角θb。
       這樣,先行激光束3a預熱邊緣部2。而且先行激光束3a朝焊接進行方向傾斜而照射,所以能夠抑製飛濺物的產生。接著,後行激光束3b熔融邊緣部2。此時邊緣部2被預熱,所以不產生飛濺物。結果,能夠減少飛濺物,進而能夠防止下陷、不滿。
       在先行激光束3a的入射角θa不足5°時,入射角θa過小,所以表現出與垂直照射先行激光束3a的情況相同的舉動,無法得到抑製飛濺物的產生的效果。另一方麵,如果入射角θa超過50°,則從先行激光束3a所穿過的開口管1的上表麵到背麵的距離變長,所以先行激光束3a的能量衰減,無法得到充分的預熱效果。因此,先行激光束3a的入射角θa優選在5°~50°的範圍內。
       同樣,在後行激光束3b的入射角θb不足5°時,入射角θb過小,所以表現出與垂直照射後行激光束3b的情況相同的舉動,無法得到抑製飛濺物的產生的效果。另一方麵,如果入射角θb超過50°,則從後行激光束3b所穿過的開口管1的上表麵到背麵的距離變長,所以後行激光束3b的能量衰減,無法獲得充分的焊透深度。因此,後行激光束3b的入射角θb優選在5°~50°的範圍內。

4)開口管的背麵側的先行激光束與後行激光束的中心點的間隔
       將開口管1的背麵側的先行激光束3a與後行激光束3b的中心點的間隔L設為1mm以上。如果間隔L在1mm以上,則在背麵側熔池沿焊接進行方向延伸,來自背麵側的飛濺物的產生量減少,由此可得到沒有下陷、不滿的焊縫。但是如果間隔L超過10mm,則背麵側的熔池分離,所以容易產生飛濺物。因此,先行激光束3a與後行激光束3b的中心點的間隔L優選在1mm~10mm的範圍內。

5)壓縮量
       在進行激光焊接時,優選對焊接部施加0.2mm~1.0mm的壓縮。在壓縮量不足0.2mm時,無法使由激光焊接產生的氣孔消失。另一方麵,如果超過1.0mm,則激光焊接變得不穩定,飛濺物的產生量增加。

6)激光束的激光輸出以及焊接速度
       一般激光輸出越低,焊接速度越慢,則在激光焊接時產生的飛濺物越少。然而為了抑製飛濺物的產生而降低激光輸出和焊接速度意味著降低激光焊接鋼管的生產性。因此,在本技術中,優選先行激光束3a和後行激光束3b的激光束的激光輸出合計超過16kW,並且以超過7m/min的焊接速度來進行激光焊接。在激光輸出合計在   16kW以下時,焊接速度變為7m/min以下,所以導致激光焊接鋼管的生產性降低。
       在本技術中,即使是厚壁材料(例如厚度4mm以上)的開口管,也能夠不用通過高頻加熱等預熱邊緣部,來進行激光焊接。但是,如果通過高頻加熱等對邊緣部進行預熱,則能夠得到提高激光焊接鋼管的生產性等的效果。如果進行基於高頻加熱的預熱則在焊接部形成堆高,但在激光焊接後通過切削或磨削除去該堆高就可更好地完成焊接部的表麵性狀。

7)激光束的振蕩器
       本技術所使用的激光束的振蕩器可以使用各種形態的振蕩器,優選將氣體用作介質的氣體激光器、將固體用作介質的固體激光器、用光纖代替分散材料作為激光介質的光纖激光器、盤狀激光器等。或者也可以使用半導體激光器。

8)輔助熱源
       可以從開口管1的外麵側利用輔助熱源進行加熱。該輔助熱源隻要能夠加熱熔融開口管1的外表麵,就對其結構沒有特別限定。例如,優選利用燃燒器熔化法、等離子體熔化法、TIG熔化法、電子束熔化法、激光熔化法等方法。
       此外,優選將輔助熱源與激光束的振蕩器配置為一體,其理由是如果輔助熱源和激光不配置為一體,則為了獲得輔助熱源的效果而需要較多的熱量,很難抑製焊接缺陷(例如下陷、不滿等)。並且,更優選為使輔助熱源比激光束的振蕩器更靠前配置,其理由是能夠除去邊緣部的水分、油分。
       優選使用電弧作為優選的輔助熱源。電弧的產生源使用能夠朝抑製熔融金屬燒穿的方向施加電磁力的裝置。此外,優選電弧的產生源與激光束配置為一體。其理由如上所述,將在產生電弧的焊接電流的周邊產生的磁場的影響有效地施加於由激光束產生的熔融金屬。並且,更優選為使電弧的產生源比激光束靠前配置。其理由是能夠除去邊緣部的水分、油分。

3 結語
       如果本技術與氣體保護焊、添加填充金屬等以往公知的技術組合也會有效果。這樣的複合焊接的技術不僅適用於焊接鋼管的製造,還適用於厚鋼板的焊接。如以上所述,根據本技術,在製造激光焊接鋼管時適當地保證光斑直徑,並適當排列兩道激光束,並且控製激光束的入射角等激光焊接的條件,從而能夠防止飛濺物的產生,能夠抑製焊接部的下陷、不滿,並且能夠不降低焊接效率而得到質量良好的焊接部,能夠高合格率地穩定製造激光焊接鋼管。得到的激光焊接鋼管能發揮激光焊接的優點,使接縫的低溫韌性、耐腐蝕性優良,適用於在寒冷地區、腐蝕環境下使用的油井管、管線管。

轉載請注明出處。

免責聲明

① 凡本網未注明其他出處的作品,版權均屬於(yu) fun88网页下载,未經本網授權不得轉載、摘編或利用其它方式使用。獲本網授權使用作品的,應在授權範圍內(nei) 使 用,並注明"來源:fun88网页下载”。違反上述聲明者,本網將追究其相關(guan) 責任。
② 凡本網注明其他來源的作品及圖片,均轉載自其它媒體(ti) ,轉載目的在於(yu) 傳(chuan) 遞更多信息,並不代表本媒讚同其觀點和對其真實性負責,版權歸原作者所有,如有侵權請聯係我們(men) 刪除。
③ 任何單位或個(ge) 人認為(wei) 本網內(nei) 容可能涉嫌侵犯其合法權益,請及時向本網提出書(shu) 麵權利通知,並提供身份證明、權屬證明、具體(ti) 鏈接(URL)及詳細侵權情況證明。本網在收到上述法律文件後,將會(hui) 依法盡快移除相關(guan) 涉嫌侵權的內(nei) 容。

網友點評
0相關評論
精彩導讀