加工服務

央視報道截圖
激光天地導讀:
未來的ipads或iphoness上的顯示器可能會(hui) 使用激光來檢測觸摸,同時使用VCSEL傳(chuan) 感器和其他技術監視屏幕的偏轉以確定3D觸摸的水平或提供更好的打字體(ti) 驗。 iphoness和ipads等設備中使用的當前觸摸屏技術可以使用多種方式來檢測用戶何時觸摸屏幕或用力觸摸屏幕。 現有方法包括電容感測、電阻感測、超聲感測和光學感測。
特別是在光學傳(chuan) 感方麵,新的技術可用於(yu) 確定顯示器因手指按壓而產(chan) 生的偏轉或檢測來自觸控筆的壓力。在周四美國專(zhuan) 利商標局發布的專(zhuan) 利申請中,蘋果公司建議可以對現有方法進行改進。
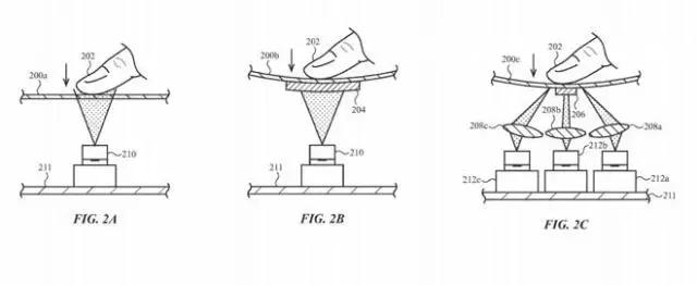
在標題為(wei) “用於(yu) 表征觸摸輸入的基於(yu) 自混合幹擾的傳(chuan) 感器”的專(zhuan) 利文件中,蘋果建議使用垂直腔表麵發射激光器(VCSEL)來監視顯示器的觸摸輸入。
每個(ge) VCSEL都向被監視表麵發射“相幹光”光束,該光束被反射並與(yu) 其他相幹光束以各種角度混合到其他傳(chuan) 感器中。角度的數量很重要,因為(wei) 顯示表麵的偏轉會(hui) 改變反射角度,這意味著其他傳(chuan) 感器對特定光束的接收可以告知係統存在多少偏轉。隨後通過對多個(ge) 傳(chuan) 感器的測量檢測結果進行頻譜分析以確定運動速度和運動方向,可以進一步改善該係統。這可以包括讀取不同階段的多個(ge) 諧波頻率,這也可以推斷用戶在輸入設備上的運動。
撓度的測量很重要,因為(wei) 它告訴係統用戶在顯示器的特定點上按下的力度。盡管這在3D Touch等領域已經具有直接的應用,目前已經可以借助不同級別的壓力來確定要提供給用戶的選項級別,但顯然還有其他方法可以采用。從(cong) 理論上講,這可以允許用戶以類似於(yu) 物理鍵盤的方式將手指輕輕地放在鍵盤上進行觸摸打字,因為(wei) 除非他們(men) 有意輸入並傳(chuan) 遞基於(yu) 壓力的手指動作,否則手指不會(hui) 觸發這些按鍵,看上去就等效於(yu) 機械鍵盤的觸發壓力。
蘋果每周都會(hui) 提交大量專(zhuan) 利申請,但是雖然這些申請不一定會(hui) 全部在未來的產(chan) 品或服務中使用,但它們(men) 可以告知外部有關(guan) 蘋果研究與(yu) 開發工作的關(guan) 注領域。
由此可見,VCSEL已經成為(wei) 蘋果關(guan) 注的重要領域,其技術為(wei) iphoness 的TrueDepth相機陣列提供了支持,並在“Project Titan”項目下的自動駕駛汽車應用中展現了希望。
作為(wei) 2017年先進製造基金戰略的一部分,蘋果對Finisar進行了3.9億(yi) 美元的投資。作為(wei) VCSEL的生產(chan) 商,對這家美國公司的投資為(wei) 蘋果設備提供了更多的零部件供將來使用,同時也為(wei) Finisar提供了更多資源以開發使用該技術的替代方法。

來源:cnBeta.COM
轉載請注明出處。







相關文章
熱門資訊
精彩導讀



















關注我們

