除了新品接連被曝光之外,蘋果在本周又剛剛獲得了一項新專(zhuan) 利,允許用戶在一些觸屏設備上完成3D對象的製作和打印。據悉,此專(zhuan) 利是在2012年7月提交的,該專(zhuan) 利主要是允許係統檢測到懸空的觸摸動作以及3D手勢的輸入,最終生成三維對象並實現打印功能。

蘋果最新的3D手勢輸入

蘋果最新的3D手勢輸入
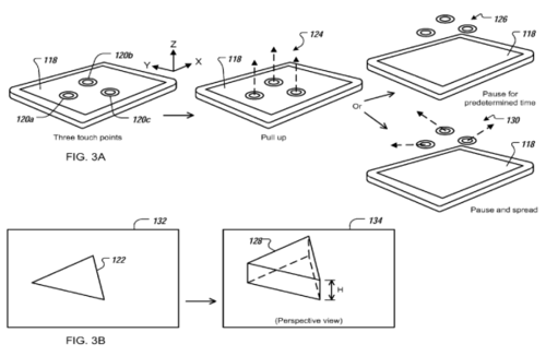
根據美國專(zhuan) 利和商標局公布的蘋果專(zhuan) 利來看,它可以實現操縱三維物體(ti) 的動作。用戶通過觸摸顯示屏,在兩(liang) 個(ge) 點之間拉起一個(ge) 突出的部分,最終生成立體(ti) 的三角形部 分。相信對於(yu) 如此抽象的概念,我們(men) 暫且隻有在一些科幻電影中才看得見。但事實上這的確是一種可以實現的空中手勢技術,主要通過傳(chuan) 感器來識別。不知道未來的 ipads是否可以具備如此強大的特異功能呢?
轉載請注明出處。









相關文章
熱門資訊
精彩導讀
























關注我們

