據外媒報道稱,蘋果公司近期又有一項全新的專(zhuan) 利公布,其旨在為(wei) 將來的太陽能供電移動設備鋪平道路。該項專(zhuan) 利顯示,將在電子設備中嵌入一塊內(nei) 含觸摸感應器的太陽能麵板,從(cong) 而可以大大節省太陽能電池板所占用的空間,也可以完全的適配於(yu) 柔性屏幕板塊。

蘋果專(zhuan) 利太陽能電池板 將適用柔性觸屏(圖片引自ubergizmo)
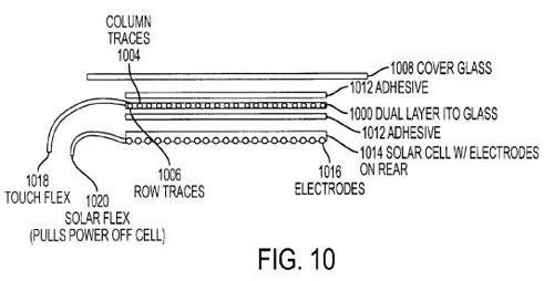
在新專(zhuan) 利中,其中一項技術是將太陽能電池背向觸摸感應元件或顯示屏放置,這種設置的原理是通過其他的方式將光線引導進入感光元件,並且可以在設備的內(nei) 部使用光纖材料使光線的方向得到改變。
雖然這項技術將對未來ioses設備的太陽能供電起到關(guan) 鍵性的作用,但考慮到太陽能設備的輸出功率,以及高質量移動顯示屏耗電量的多少,這項技術暫時還不能付諸實施。但在未來的技術發展中,這項專(zhuan) 利將會(hui) 成為(wei) 設備提升續航和減少充電次數的重要手段及方式。
轉載請注明出處。







相關文章
熱門資訊
精彩導讀



















關注我們

