你如果在一輛汽車的配置表中看到一欄寫(xie) 著“激光雨刷”會(hui) 不會(hui) 覺得很炫酷?看來這就是特斯拉正在進行的一項研究,而且據外媒報道,現在特斯拉已經為(wei) 這項技術申請了專(zhuan) 利,名字叫做“脈衝(chong) 激光清洗車玻璃製品上的汙漬和光伏發電組件”。是不是有點拗口?大概的意思就是用激光來清洗車玻璃,基本可以理解為(wei) “激光雨刷”,隻不過它可以清理的不隻是擋風玻璃。

特斯拉激光係統專(zhuan) 利

特斯拉激光係統專(zhuan) 利
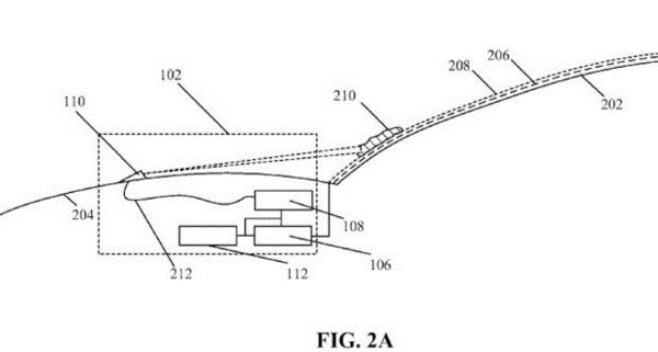
從(cong) 專(zhuan) 利圖中可以看出,該係統組件被安裝在汽車“引擎蓋”下方靠近前擋風玻璃的位置,“引擎蓋”上會(hui) 探出兩(liang) 個(ge) 出口,就像所有汽車引擎蓋上的出水口一樣,不過它們(men) 噴射的不是水,而是激光束。特斯拉解釋說,該係統還可以自動清除任何阻礙自動駕駛汽車攝像頭視野的碎片。

特斯拉激光係統專(zhuan) 利
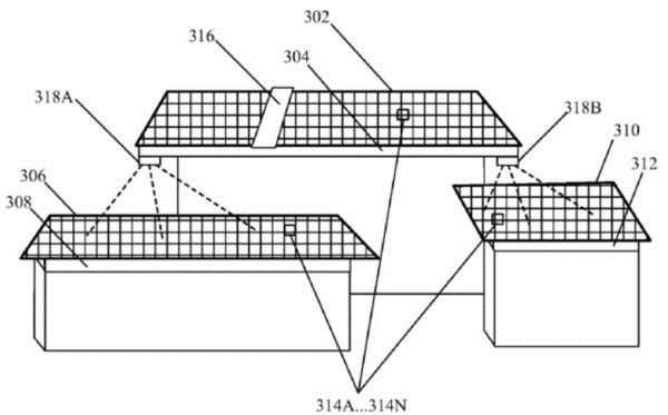
此外,特斯拉計劃利用該係統自動清理屋頂太陽能電池板上的碎片,這也就是專(zhuan) 利名字中的“光伏發電組件”。但是就像大分部情況一樣,很多汽車廠商都會(hui) 申請這樣那樣的神奇專(zhuan) 利,但是這些專(zhuan) 利成果卻永遠不會(hui) 出現在產(chan) 品配置表上。目前還不知道特斯拉想把這個(ge) 係統裝在哪款車型上,甚至是會(hui) 不會(hui) 安裝到任何一輛車上。
轉載請注明出處。







相關文章
熱門資訊
精彩導讀



















關注我們

