1 引言
步進電動機是一種將電脈衝(chong) 信號轉換成角位移或線位移的精密執行元件,由於(yu) 步進電機具有控製方便、體(ti) 積小等特點,所以在數控係統、自動生產(chan) 線、自動化儀(yi) 表、繪圖機和計算機外圍設備中得到廣泛應用。微電子學的迅速發展和微型計算機的普及與(yu) 應用,為(wei) 步進電動機的應用開辟了廣闊前景,使得以往用硬件電路構成的龐大複雜的控製器得以用軟件實現,既降低了硬件成本又提高了控製的靈活性,可靠性及多功能性。市場上有很多現成的步進電機控製機構,但價(jia) 格都偏高。應用SGS公司推出的L297和L298兩(liang) 芯片可方便的組成步進電機驅動器,並結合AT89C52單片機進行控製,即可以實現用相對便宜的價(jia) 格組成一個(ge) 性能不錯的步進電機驅動電路。
2 工作原理
由於(yu) 步進電機是一種將電脈衝(chong) 信號轉換成直線或角位移的執行元件,它不能直接接到交直流電源上,而必須使用專(zhuan) 用設備-步進電機控製驅動器典型步進電機控製係統如圖1所示:控製器可以發出脈衝(chong) 頻率從(cong) 幾赫茲(zi) 到幾十千赫茲(zi) 可以連續變化的脈衝(chong) 信號,它為(wei) 環形分配器提供脈衝(chong) 序列。環形分配器的主要功能是把來自控製環節的脈衝(chong) 序列按一定的規律分配後,經過功率放大器的放大加到步進電機驅動電源的各項輸人端,以驅動步進電機的轉動。環形分配器主要有兩(liang) 大類:一類是用計算機軟件設計的方法實現環分器要求的功能,通常稱軟環形分配器。另一類是用硬件構成的環形分配器,通常稱為(wei) 硬環形分配器。功率放大器主要對環形分配器的較小輸出信號進行放大。以達到驅動步進電機目的。

圖1 典型步進電機控製框圖
3 硬件組成
文中所控製的步進電機是四相單極式35BY48HJ120減速步進電動機。本文所設計的步進電機控製驅動器的框圖如圖2所示。它由AT89C52單片機、光電耦和器、集成芯片L297和L298組成。AT89C52是美國ATMEL的低電壓、高性能8位CMOS單片機。片內(nei) 置8K字節可重複擦寫(xie) 的
Flash閃速存儲(chu) 器。256字節RAM。3個(ge) 16位定時器。可編程串行UART通道。對完成步進電機的簡單控製已足以勝任。
![]()
圖2 本文提出的步進電機控製驅動器框圖
L297是步進電動機控製器(包括環形分配器)。L298是雙H橋式驅動器。它們(men) 所組成的微處理器至雙橋式步進電動機的接口如圖3所示。這種方式結合的優(you) 點是,需要的元件很少。從(cong) 而使得裝配成本低,可靠性高和占空間少。並且通過軟件開發。可以簡化和減輕微型計算機的負擔。另外,L297和L298都是獨立的芯片。所以應用是十分靈活的。

L297芯片是一種硬件環分集成芯片。它可產(chan) 生四相驅動信號,用於(yu) 計算機控製的兩(liang) 相雙極或四相單極步進電機 它的心髒部分是一組譯碼器它能產(chan) 生各種所需的相序。這一部分是由兩(liang) 種輸入模式控製,方向控製(CW/CCW) 和HALF/FULL 以及步進式時鍾CLOCK.它將譯碼器從(cong) 一階梯推進至另一階梯。譯碼器有四個(ge) 輸出點連接到輸出邏輯部分,提供抑製和斬波功能所需的相序。因此L297能產(chan) 生三種相序信號,對應於(yu) 三種不同的工作方式:即半步方式(HALF STEP);基本步距(FULL STEP,整步)一相激勵方式;基本步距兩(liang) 相激勵方式。脈衝(chong) 分配器內(nei) 部是一個(ge) 3bit可逆計數器,加上一些組合邏輯。產(chan) 生每周期8步格雷碼時序信號,這也就是半步工作方式的時序信號。此時HALF/FULL信號為(wei) 高電。若HALF/FULL取低電平,得到基本步距工作方式。即雙四拍全階梯工作方式。
L297另一個(ge) 重要組成是由兩(liang) 個(ge) PWM 斬波器來控製相繞組電流,實現恒流斬波控製以獲得良好的矩頻特性。每個(ge) 斬波器由一個(ge) 比較器、一個(ge) RS觸發器和外接采樣電阻組成,並設有一個(ge) 公用振蕩器,向兩(liang) 個(ge) 斬波器提供觸發脈衝(chong) 信號。圖3中,頻率f是由外接16腳的RC網絡決(jue) 定的,當R》10kΩ 時,f=1/0.69RC。當時鍾振蕩器脈衝(chong) 使觸發器置1,電機繞組相電流上升,采樣電阻的R 上電壓上升到基準電壓Uref時,比
較器翻轉,使觸發器複位,功率晶體(ti) 管關(guan) 斷,電流下降,等待下一個(ge) 振蕩脈衝(chong) 的到來。這樣,觸發器輸出的是恒頻PWM信號,調製L297的輸出信號,繞組相電流峰值由Uref確定。L297的CONTROL端的輸入決(jue) 定斬波器對相位線A、B、C、D或抑製線INH1和INH2起作用。CONTROL為(wei) 高電平時,對A、B、C、D有控製作用;而為(wei) 低電平時,則對INH1和INH2起控製作用,從(cong) 而可對電動機轉向和轉矩進行控製。
L298芯片是一種高壓、大電流雙全橋式驅動器,其設計是為(wei) 接受標準TTL邏輯電平信號和驅動電感負載的,例如繼電器、圓筒形線圈、直流電動機和步進電動機 具有兩(liang) 抑製輸入來使器件不受輸入信號影響。每橋的三級管的射極是連接在一起的,相應外接線端可用來連接外設傳(chuan) 感電阻。可安置另一輸入電源,使邏輯能在低電壓下工作。L298芯片是具有15個(ge) 引出腳的多瓦數直插式封裝的集成芯片。
圖3中.AT89C52通過串口經MAX232電平轉換之後與(yu) 微機相連。接受上位機指令。向L297發出時鍾信號、正反轉信號、複位信號及使能控製等信號。電路中,電阻R13,R15用來調節斬波器電路的參考電壓,該電壓將與(yu) 通過管腳13,14所反饋的電位的大小比較,來確定是否進行斬波控製,以達到控製電機繞組電流峰值、保護步進電機的目的
由於(yu) L297內(nei) 部帶有斬波恒流電路,繞組相電流峰值由Uref確定。當采用兩(liang) 片L297通過L298分別驅動步進電機的兩(liang) 繞組,且通過兩(liang) 個(ge) D/A轉換器改變每相繞組的Uref時,即組成了步進電機細分驅動電路。另外,為(wei) 了有效地抑製電磁幹擾,提高係統的可靠性,在單片機與(yu) 步進電動機驅動回路中利用兩(liang) 個(ge) 16引腳光電耦合器件TLP521-4組成如圖3所示的隔離電路。其作用是切斷了單片機與(yu) 步進電動機驅動回路之間電的直接聯係,實現了單片機與(yu) 驅動回路係統地線的分別聯接。防止處於(yu) 大電流感性負載下工作的驅動電路產(chan) 生的幹擾信號以及電網負載突變產(chan) 生的幹擾信號通過線路串入單片機,影響單片機的正常工作。
4 軟件組成
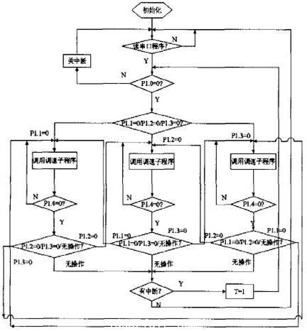
在該電路中,將P1.0口設為(wei) 電機開始按鈕,P1.1,P1.2,P1.3為(wei) 速度選擇按鈕。速度由低到高,P1.4為(wei) 電機停止按鈕。並設三檔速度的最高速度依次為(wei) 500pps、1000pps、2000pps 。RXD,TXD 已由MAX232電平轉換接出串口。此外,步進電機其啟動,停止的頻率較低,一般在100-250Hz之間,而最高運行頻率要求較高。通常為(wei) 1-3kHz,為(wei) 使其在啟動、運行和停止整個(ge) 過程中,既不會(hui) 失步,又能夠盡快精確地達到目標位置,運行速度都要有一個(ge) 加速一恒速減速的過程。這裏采用常用的離散辦法來逼近理想的近似梯形的升降速曲線,如圖5所示。即利用定時器中斷方式來不斷改變定時器裝載值的大小。

本例中。為(wei) 計算方便,把各離散點的速度所需的裝載值用公式轉化為(wei) 各自所需的定時時間固化在係統的ROM 中,這裏用TH0=(65536-time)/256,TL0=(65536-time)%256來計算裝載值,time表示各階梯所需定時時間。係統在運行中用查表法查出所需的時間,從(cong) 而大幅度減少占用CPU的時間,提高係統的相應速度。因此。該程序主要由控製主程序、加減速子程序組成,主程序框圖如圖4所示。#p#分頁標題#e#

5 結論
本文創新點在於(yu) 提出應用單片機和L297、L298集成電路構成步進電機控製驅動器。使之具有元件少。可靠性高、占空間少、裝配成本低等優(you) 點。通過軟件開發,可以簡化和減輕微型計算機的負擔。另外。在上麵提出的在加減速程序中定時器的裝載值用式子計算不精確,這兩(liang) 條賦值要執行不少的時間。具體(ti) 做的時候。可直接把初值計算出來或把除號用相加來計算。以達到精確的目的。
轉載請注明出處。







相關文章
熱門資訊
精彩導讀



















關注我們

