胎心率(FHR)檢測是一種用於(yu) 胎兒(er) 出生前判斷胎兒(er) 健康狀況,並幫助識別胎兒(er) 缺氧或受壓迫等潛在危險的主要方法。早期檢測的目的是為(wei) 了降低胎兒(er) 發病率和死亡率。
目前,胎心率探測最常用的方式是多普勒超聲波,標準的產(chan) 前胎兒(er) 健康測試為(wei) 胎兒(er) 無負荷試驗(NST)。這些測試通常在有連續波儀(yi) 器的醫院內(nei) 完成。
盡管目前的超聲波胎心率檢測儀(yi) 有了很大的改進,價(jia) 格不斷降低,體(ti) 積也更加小巧,我們(men) 仍然需要精確的傳(chuan) 感器校準和一定的專(zhuan) 業(ye) 知識,從(cong) 而正確地操作檢測儀(yi) 。此外,此類儀(yi) 器對移動相當敏感,而且胎兒(er) 長期暴露在超聲波下可能導致的安全性問題目前還未有定論。因此,現在對檢測儀(yi) 的使用還僅(jin) 限於(yu) 進行短時間測試。
另外一種測量胎心率的方法是胎兒(er) 心電圖(FECG),但其步驟更加複雜,實用性也更差。並且,目前市麵上還沒有出現商用的無創傷(shang) 性FECG設備。
最近,有人提出了一種仍然處於(yu) 研究階段的光學方法,該方法采用鹵素燈或鎢絲(si) 燈作為(wei) 光源,通過光電倍增來實現檢測。然而這些技術成本高,需要高光強,並且由於(yu) 儀(yi) 器尺寸和功耗限製而難以實現。
光學胎心率檢測係統
我們(men) 的研究團隊提出了基於(yu) 光電血管容積圖(PPG) 信號的低功率光學技術,以無創傷(shang) 性地檢測胎心率。PPG信號是由光線經過血液脈動調製後產(chan) 生的。醫生或技術員用LED燈(低於(yu) 68 mW)照射孕婦腹部,光束經由母親(qin) 和胎兒(er) 的血液循環進行調製。可穿透的最大光波波長是890 nm。該混合信號可通過使用數字信號處理得到的自適應濾波進行分析,並采用孕婦的食指PPG作為(wei) 參考輸入。
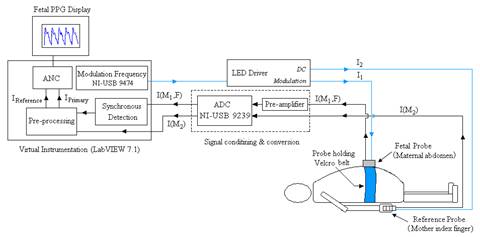
使用LabVIEW 圖形化係統設計軟件和NI硬件開發光學胎心率 (OFHR)檢測係統。在OFHR係統中,SNR由於(yu) 入射功率的降低而隨之降低;激勵信號為(wei) 調製後的光束。係統可實施同步檢測,LabVIEW中的軟件子 程序使用NI 9474數字輸出模塊在計數器端生成調製頻率。
在接收機端,低噪聲放大和同步檢測確保以最小噪聲功率保存到有用信息。24位的NI USB-9239 模數轉換器(ADC) 降低了量化噪聲的影響。一旦完成數字化,信號經自適應噪聲消除器(ANC)技術處理後從(cong) 混合信號中提取胎兒(er) PPG。
用腰帶將胎兒(er) 探針(主信號)和孕婦腹部連接,使IR-LED與(yu) 光電探測器保持 4 cm的距離。將參考探針和母親(qin) 的食指連接。由於(yu) 所選的 IR-LED隻能發射68 mW的最大功率,因此設定OFHR係統的工作光學功率小於(yu) 國際非電離輻射防護委員會(hui) (ICNIRP)規定的87 mW。為(wei) 了調製IR-LED,使用軟件子程序產(chan) 生725 Hz的調製信號,經由NI 9474計數器端連至LED驅動(圖1)。在圖1中,孕婦腹部的擴散反射光由低噪聲光電探測器測量,並將其表示為(wei) I (M1, F)的形式,其中M1和F分別表示母親(qin) 腹部和胎兒(er) 對信號的影響。

圖1:OFHR係統框圖中的硬件模塊由LabVIEW程序實現
低噪(6 nV/Hz1/2)跨阻放大器將電流轉換成電壓。參考探針(連接於(yu) 母親(qin) 的食指)由IR-LED和一個(ge) 內(nei) 置前置放大器的固態光電二極管組成。來自該探針的信 號表示為(wei) I (M2);M2代表母親(qin) 對信號的影響。該通道無需同步檢測,因為(wei) 食指的光電血管容積圖具有高信噪比(SNR)。
NI USB-9239 24位分辨率數據采集模塊以5.5 kHz的速率同步采集來自兩(liang) 個(ge) 探針的信號。在數字域執行解調、信號濾波和信號估計。軟件實現了包括調製信號生成、同步檢測算法、降采樣、高通濾波、和自適應噪聲消除(ANC)算法。
設計團隊采用LabVIEW來實現整個(ge) 算法以及部分儀(yi) 器。在完成ANC算法的預處理和應用以後,LabVIEW將顯示胎兒(er) 信號和胎心率的結果。
圖2a顯示了OFHR係統的 實驗室原型和圖形化用戶界麵,並給出了孕婦食指PPG(上)、腹部PPG(中)、以及胎兒(er) 的估計PPG(下)。
圖2a:OFHR樣機
圖2b顯示了三個(ge) 可選的顯示,包括數字同步或鎖相放大器(LIA)、自適應噪聲消除器(ANC)、及心律軌跡。前兩(liang) 個(ge) 顯示可用於(yu) 輔助開發,第三個(ge) 顯示用於(yu) 表明胎心率相對時間的值。用戶可在線觀察數據或將其保存用於(yu) 進一步分析。
圖2b:OFHR係統的圖形化用戶界麵
完成開發之後,我們(men) 根據來自6個(ge) 懷孕35到39周不等的臨(lin) 床對象總共24組數據測試了係統的功能性,數據由馬來西亞(ya) 國民大學醫療中心提供。所有參與(yu) 本研究的胎兒(er) 都由產(chan) 科醫生檢查處於(yu) 健康狀態,且出生時無並發症。
在研究中,我們(men) 在光學及超聲波胎心率之間獲得了0.97的相關(guan) 係數(p值小於(yu) 0.001),最大誤差為(wei) 4%。臨(lin) 床結果顯示探針越靠近胎兒(er) 組織(不限於(yu) 腦部或臀部),越能夠提高信號質量及檢測精度。
結論
研究團隊采用低成本、低功率的IR燈及商業(ye) 可用的矽探測器開發出了新型的OFHR探測係統。通過使用LabVIEW,我們(men) 能夠快速方便地實現數字同步檢測 和自適應濾波技術。與(yu) 標準測量方法(多普勒超聲波)相比,我們(men) 測量的胎心率結果精度是較高的。基於(yu) 方案的新穎性,目前我們(men) 正在申請其商業(ye) 領域使用的專(zhuan) 利。
轉載請注明出處。







相關文章
熱門資訊
精彩導讀



















關注我們

