基於(yu) “無人車、無人駕駛、自動駕駛”關(guan) 鍵詞的專(zhuan) 利檢索結果,專(zhuan) 利申請前50名企業(ye) 中,國內(nei) 隻有百度(超過2000件)、華為(wei) (246件)上榜,其他均為(wei) 國外企業(ye) 。 從(cong) 激光雷達專(zhuan) 利數量的機構排名(TOP28)來看,中國企業(ye) 和大學的上榜數量較多,達13家。2020年10-11月申請激光雷達專(zhuan) 利的大部分為(wei) 中國企業(ye) 。 博世在傳(chuan) 感器、底盤、線控、感知、泊車等領域的專(zhuan) 利數量遙遙領先。而華為(wei) 在感知和決(jue) 策方麵實力不俗。 令人驚訝的是,華為(wei) 在底盤和線控領域的專(zhuan) 利數量頗多,說明華為(wei) 早已布局底盤和線控領域。
自動駕駛專(zhuan) 利分析
在智慧芽專(zhuan) 利庫中檢索自動駕駛相關(guan) 關(guan) 鍵詞:即“無人車、無人駕駛、自動駕駛”的中文、英文、日文、德文、韓文等語言的對應關(guan) 鍵詞,時間跨度從(cong) 2001年到2020年上半年,得出91496條專(zhuan) 利。

這些專(zhuan) 利主要來自於(yu) 中國(26.62%),美國(21.64%),日本(15.22%),德國(13.6%),法國(5.19%),韓國(5.05%)等國家。

從(cong) 中國各省市申請數量來看,北京、廣東(dong) 、江蘇、上海、浙江排前五位。
從(cong) 企業(ye) 申請前50位來看,國內(nei) 隻有百度(超過2000件),華為(wei) (246件)上榜,其他均為(wei) 國外企業(ye) 。



佐思汽研在2020年9月選擇了41項新四化指標進行了對比,評估博世、華為(wei) 、百度、WAYMO在新四化領域的競爭(zheng) 力。


從(cong) 布局細分領域的數量和初步評分來看,四家企業(ye) 的競爭(zheng) 力排名依次為(wei) :博世、華為(wei) 、WAYMO、百度。
為(wei) 了更精確對比這些企業(ye) 的競爭(zheng) 力,我們(men) 選取了自動駕駛相關(guan) 的15個(ge) 關(guan) 鍵詞(不包含“汽車控製”),比較博世、大陸、WAYMO、百度、華為(wei) 、豐(feng) 田在這15個(ge) 領域的專(zhuan) 利數量。
從(cong) 匯總專(zhuan) 利數量來看,博世、華為(wei) 、WAYMO、百度這四家企業(ye) 的競爭(zheng) 力排名並沒有變化,但是博世(32096)在專(zhuan) 利數量上是華為(wei) (10666)的3倍,差距更加明顯。

從(cong) 上表來看,博世在傳(chuan) 感器、底盤、線控、感知、泊車等領域遙遙領先。而華為(wei) 在感知和決(jue) 策方麵實力不俗。
令人驚訝的是,華為(wei) 在底盤和線控領域的專(zhuan) 利數量頗多,說明華為(wei) 早已布局底盤和線控領域。
在“汽車控製”方麵,科技企業(ye) (WAYMO,百度和華為(wei) )和傳(chuan) 統車廠(豐(feng) 田)及Tier1的專(zhuan) 利數量差距巨大。
激光雷達專(zhuan) 利分析
同樣的檢索2001年以來的激光雷達專(zhuan) 利數量,總體(ti) 上是逐年上升的趨勢。

從(cong) 激光雷達專(zhuan) 利的所屬機構排名(TOP28)來看,中國企業(ye) 和大學的上榜數量較多,達13家。

從(cong) 最新申請的專(zhuan) 利來看,主要致力於(yu) 激光雷達的算法改進,防水,發射和接收模塊的改進等。2020年10-11月申請激光雷達專(zhuan) 利的主要為(wei) 中國企業(ye) 。

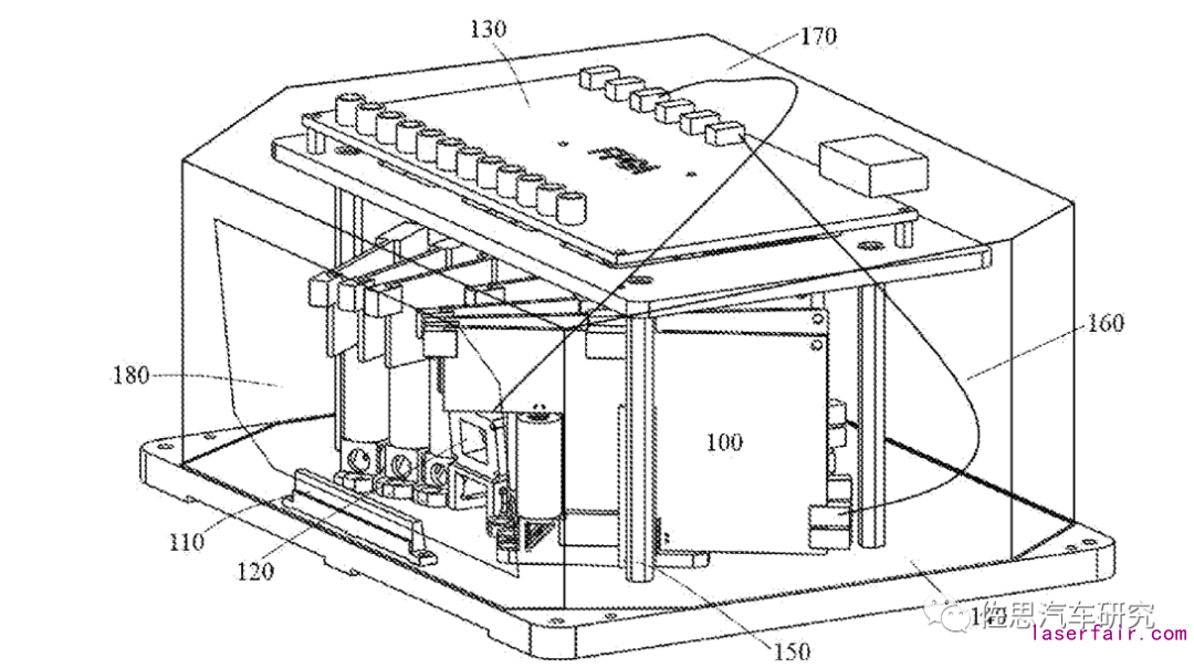
2020年7月2日,世界知識產(chan) 權組織國際局公布了華為(wei) 的一項有關(guan) 激光雷達的專(zhuan) 利,發明名稱為(wei) 一種激光雷達測量模組和激光雷達。這是華為(wei) 激光雷達領域覆蓋麵最廣的專(zhuan) 利,長達52頁,而大多數中文發明專(zhuan) 利不超過20頁。華為(wei) 專(zhuan) 利申請詳細說明了激光雷達的原理和構造。
通過專(zhuan) 利文檔可以看出,華為(wei) 選擇MEMS激光雷達切入。不過針對MEMS LiDAR功率過低的缺點,華為(wei) 做了改進,也就是華為(wei) 專(zhuan) 利所說的,多線程微振鏡激光測量模組。華為(wei) 采用多個(ge) 發射和接收組件,而不是傳(chuan) 統MEMS激光雷達那樣隻有一個(ge) ,因為(wei) 華為(wei) 在光電領域產(chan) 業(ye) 龐大,規模效應突出,采購激光發射器和接收器的成本遠比傳(chuan) 統激光雷達要低。


華為(wei) 的激光雷達設計,成本和體(ti) 積比傳(chuan) 統MEMS激光雷達大多了,但性能也增加了,特別是有效距離和FOV。功率的增加讓MEMS振鏡尺寸可以縮小,FOV就可以大一點,華為(wei) 激光雷達的FOV也是業(ye) 內(nei) 最大的。振鏡越小,價(jia) 格也越低。華為(wei) 這種模塊式布局,可以快速出產(chan) 多種用途的激光雷達,適應不同的市場需求。
轉載請注明出處。







相關文章
熱門資訊
精彩導讀



















關注我們

