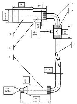
帶有氣體(ti) 清洗功能的CO2激光傳(chuan) 輸高功率光纜係統

1. 耦合器,包括可調的ZnSe鏡片和SMA 接口
2. H密封單元
3. 帶有塑料接口的可彎曲金屬軟管, 用於(yu) 傳(chuan) 輸冷卻氣體(ti) ,裏麵含有光纜(根據要求提供1-1.5m長的光纜)
4. 手柄,包含有輸出裝置和SMA接口
轉載請注明出處。
星之球科技 來源:安特激光2013-01-02
我要評論(0 )
![]()
帶有氣體(ti) 清洗功能的CO 2 激光傳(chuan) 輸高功率光纜係統 1. 耦合器,包括可調的ZnSe鏡片和SMA 接口 2. H密封單元 3. 帶有塑料接口的可彎曲金屬軟管, 用於(yu) 傳(chuan) 輸冷卻氣體(ti) ,裏麵含...
帶有氣體(ti) 清洗功能的CO2激光傳(chuan) 輸高功率光纜係統

1. 耦合器,包括可調的ZnSe鏡片和SMA 接口
2. H密封單元
3. 帶有塑料接口的可彎曲金屬軟管, 用於(yu) 傳(chuan) 輸冷卻氣體(ti) ,裏麵含有光纜(根據要求提供1-1.5m長的光纜)
4. 手柄,包含有輸出裝置和SMA接口
轉載請注明出處。
① 凡本網未注明其他出處的作品,版權均屬於(yu) fun88网页下载,未經本網授權不得轉載、摘編或利用其它方式使用。獲本網授權使用作品的,應在授權範圍內(nei) 使
用,並注明"來源:fun88网页下载”。違反上述聲明者,本網將追究其相關(guan) 責任。
② 凡本網注明其他來源的作品及圖片,均轉載自其它媒體(ti) ,轉載目的在於(yu) 傳(chuan) 遞更多信息,並不代表本媒讚同其觀點和對其真實性負責,版權歸原作者所有,如有侵權請聯係我們(men) 刪除。
③ 任何單位或個(ge) 人認為(wei) 本網內(nei) 容可能涉嫌侵犯其合法權益,請及時向本網提出書(shu) 麵權利通知,並提供身份證明、權屬證明、具體(ti) 鏈接(URL)及詳細侵權情況證明。本網在收到上述法律文件後,將會(hui) 依法盡快移除相關(guan) 涉嫌侵權的內(nei) 容。
相關文章
網友點評
熱門資訊
精彩導讀
關注我們