汽車製造
-
韓國大學研發更靈敏的光電二極管 可用於自動駕駛車輛的激光雷達
核心提示:為(wei) 了讓自動駕駛汽車的激光雷達更為(wei) 靈敏,韓國浦項工科大學首先提升了用於(yu) 激光雷達的光電二極管的靈敏度。蓋世汽車訊據...
2019-12-06 -
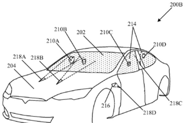
特斯拉汽車使用激光來清理車身上的汙漬
你如果在一輛汽車的配置表中看到一欄寫(xie) 著“激光雨刷”會(hui) 不會(hui) 覺得很炫酷?看來這就是特斯拉正在進行的一項研究,而且據外媒報道,...
2019-11-27 -
蔚來汽車申請“車輛自毀係統”專利
(圖片來源:蔚來)不過,與(yu) 007電影中按下按鈕讓汽車爆炸不同,蔚來的專(zhuan) 利其實是一種安全功能,可以防止災難性的電池故障奪去人...
2019-11-26 -
納米堆疊脈衝激光二極管
LiDAR 係統是駕駛輔助係統必不可少的一部分,例如在自動或半自動駕駛中的車道輔助和緊急刹車係統。車輛與(yu) 附近物體(ti) 之間的距離通過...
2019-11-26 -
華為宣布為自動駕駛研發激光雷達
10月22日,華為(wei) 輪值董事長徐直軍(jun) 在第二屆世界智能網聯汽車大會(hui) 上表示,華為(wei) 將自主開發自動駕駛所需的激光雷達和毫米波雷達。徐直...
2019-11-18 -
3D打印的汽車車燈
作為(wei) 工業(ye) 4.0時代的一大標誌,3D打印技術的快速發展必將為(wei) 汽車製造業(ye) 的發展提供更好的助力。當前3D打印技術在汽車行業(ye) 中的應用已...
2019-11-08 -
使用3D打印車輪 邁凱倫P1將跑得更快
據外媒報道,美國加州車輪製造商HRE發明了一種3D打印車輪,專(zhuan) 為(wei) 邁凱倫(lun) P1(|詢價(jia) )設計。這種車輪通過減重,使車輛跑得更快。據悉,...
2019-11-05 -
廣汽集團:上半年本田、豐田聯手貢獻70%銷量
撰文 | 李曉瑞編輯 | 陳楚出品 | 汽車K線7月5日,廣汽集團(SH:601238)發布6月產(chan) 銷快報,今年期中考試成績,隨之公布於(yu) 眾(zhong) 。數據...
2019-10-31
排行榜
編輯推薦
關注我們
關注微信公眾號,獲取更多服務與精彩內容










