輪焊接既可減少零件數量,又能提高齒輪質量和降低齒輪的製造成本,因此,在汽車工業(ye) 中早已廣泛應用。在激光焊接齒輪以前,齒輪的焊接一般采用電阻焊、感應焊、電子束焊等工藝方法。與(yu) 上焊接工藝相比,激光焊接齒輪無需在真空中進行,而且可避免焊接變形,保證了焊接後的齒輪無需再精加工。不僅(jin) 如此,激光焊接可使焊縫深寬比高達10:1,且焊縫處具有相當或優(you) 於(yu) 母材的綜合機械性能,保證了齒輪可以傳(chuan) 遞較大的扭矩[1]。因此,齒輪激光焊接是一個(ge) 發展趨勢。目前世界各大汽車製造廠竟相采用激光焊接齒輪,以提高產(chan) 品在國際市場上的競爭(zheng) 力。我國齒輪激光焊接設備設計製造水平和能力目前還比較薄弱,國內(nei) 主要汽車廠的齒輪激光焊接設備主要依賴進口,且價(jia) 格昂貴。因此,研製開發汽車變速箱雙聯齒輪激光焊接機,對推動我國汽車工業(ye) 的發展具有一定意義(yi) 。
1 雙聯齒輪
汽車變速箱雙聯齒輪激光焊接機的焊接對象是富康轎車的五速箱四檔從(cong) 動齒輪、四速箱五檔從(cong) 動齒輪和五檔從(cong) 動齒輪三種,它們(men) 的結構形式相同,都由齒輪、齒圈和墊片組成,齒輪材料為(wei) 27MC5(法國牌號),齒圈材料為(wei) 16MC5(法國牌號),如圖1所示。齒圈的兩(liang) 麵有細微的差別,A麵齒側(ce) 倒角,裝配時要求齒圈A麵向外,其內(nei) 孔D1與(yu) 齒輪軸外圓D3為(wei) 過盈配合,過盈量要求控製在一定的範圍;墊片的內(nei) 孔D2與(yu) 齒輪軸外圓D3為(wei) 間隙配合。設備生產(chan) 率要求能達到每小時生產(chan) 64件,雙聯齒輪要求焊縫深度為(wei) 1.5±0.25mm, 焊縫寬度小於(yu) 1.1mm,焊縫偏移量為(wei) ±#p#分頁標題#e#0.1mm,雙聯齒輪傳(chuan) 遞扭矩大於(yu) 1000Nm。

圖1雙聯齒輪
2 整體(ti) 方案的確定
在進行雙聯齒輪的激光焊接機的整體(ti) 方案的設計時,我們(men) 對雙聯齒輪進行了認真的分析,確定了需要解決(jue) 的四個(ge) 關(guan) 鍵問題:
(1)雙聯齒輪壓裝過程中齒圈的內(nei) 孔和齒輪的外圓過盈量的檢測。雙聯齒輪壓裝過程中須對齒圈的內(nei) 孔D1、齒輪的外圓D3之間的配合進行檢查,保證過盈量控製在一定的範圍內(nei) 。齒圈的內(nei) 孔D1和齒輪的外圓D3的尺寸一般呈正態分布,即使合格的齒圈和齒輪,當齒圈的內(nei) 孔D1靠近上偏差,而齒輪的外圓D3靠近下偏差;或者,當齒圈的內(nei) 孔D1靠近下偏差,而齒輪的外圓D3靠近上偏差,都會(hui) 出現壓裝後的雙聯齒輪不符合質量要求,這是在壓裝前無法檢測出來的。
(2)雙聯齒輪壓裝過程中齒圈的裝配方向的檢測。齒圈A麵齒側(ce) 倒角,裝配時要求齒圈A麵向外,由於(yu) 齒圈兩(liang) 麵的差別細微,在壓裝時如何判別齒圈的安裝方向是一個(ge) 難點。
(3)雙聯齒輪壓裝前齒圈的扶正。由於(yu) 齒圈的內(nei) 孔D1和齒輪的外圓D3的公差配合為(wei) 過盈配合,齒輪的前段有一小台階,所以齒圈套在齒輪上的自然狀態容易為(wei) 傾(qing) 斜狀態,導致無壓裝,因此,壓裝前必須將齒圈扶正。#p#分頁標題#e#
(4)雙聯齒輪的激光焊接工藝參數的確定。激光焊接的焊縫容易出現氣孔、裂紋、咬邊等缺陷,如何通過激光焊接工藝參數的優(you) 化避免這些缺陷的出現。不僅(jin) 如此,汽車用的雙聯齒輪還要求較大的焊縫深寬比,以便傳(chuan) 遞較大的轉矩,且焊縫首尾相接處不允許有凹坑等外觀缺陷。雖然在設計整體(ti) 方案時並不需要也不可能每一項工藝參數都確定下來,但對於(yu) 激光功率、焊接速度等對設備的結構有較大影響的工藝參數必須通過試驗得到。
在汽車變速箱雙聯齒輪激光焊接機方案確立的過程中,我們(men) 始終把上述問題作為(wei) 重點解決(jue) 的問題。由於(yu) 對齒圈的內(nei) 孔D1和齒輪的外圓D3的尺寸進行在線測量技術難度較大,費用高,不可能對齒圈的內(nei) 孔D1和齒輪的外圓D3的配合過盈量進行直接檢測。我們(men) 用相同的材料加工一批齒圈和齒輪,控製齒圈的內(nei) 孔D1和齒輪的外圓D3的實際尺寸接近上偏差或下偏差,通過在壓力機上進行裝配,測出在過盈量上限和下限所需的壓力值,從(cong) 而通過間接的方法檢測齒圈的內(nei) 孔D1和齒輪的外圓D3的過盈量。對於(yu) 對設備的結構有較大影響的工藝參數的確定,我們(men) 借助已有的三坐標激光加工設備通過插補的方式模擬齒輪焊接,取得了相當多的試驗數據。在此基礎上經過設計和反複論證,確立了汽車變速箱雙聯齒輪激光焊接機的技術方案為(wei) :整個(ge) 設備由雙聯齒輪壓裝機床和雙聯齒輪激光焊接機床組成,兩(liang) 台機床之間由輸送裝置連接,由兩(liang) 名工人操作。該方案結構簡單,製造成本較低,設備的可靠性大大提高,其加工工藝過程和工作原理為(wei) :齒輪、齒圈和墊片在齒輪壓裝機床上裝配、壓緊,然後由輸送裝置傳(chuan) 送至齒輪激光焊接機床,在齒輪激光焊接機床上進行焊接。
3 雙聯齒輪壓裝機床
3.1 工藝過程和工作原理
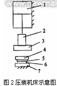
雙聯齒輪壓裝機床由主機、液壓係統和控製係統構成,其主機結構示意如圖2所示。將齒輪4、墊片5及齒圈6按規定順序安裝定位於(yu) 機床工作台麵的夾具7上。夾具中的檢測裝置自動對齒圈的安裝方向進行檢測,如果齒圈安裝方向不正確。控製係統控製機床壓頭3不能壓下,如果齒圈安裝方向正確,則按動啟動按鈕後,由液壓缸#p#分頁標題#e#1推動機床壓頭3下壓,從(cong) 而將具有過盈配合的齒輪4、齒圈6及墊片5壓合在一起。在機床壓頭上裝有壓力傳(chuan) 感器2,能對壓裝過程的壓力信號進行數據采集,控製係統將采集的數據進行處理,壓力值一旦超出規定裝配過盈量的壓力上下限時,表明齒輪或齒圈的配合不符合要求,係統則發出報警和停機,等待操作人員進行處理。這樣,可避免不合格的工件流入下一道工序。壓裝夾具中的檢測裝置不僅(jin) 可檢測齒圈的安裝方向,而且還可以對是否安裝了工件進行判斷。齒輪壓裝機床采用了全封閉的防護結構,隻有在有機玻璃的拉門關(guan) 閉後,門檢測開關(guan) 發出信號,左右手同時按下左右兩(liang) 個(ge) 啟動按鍵後,壓裝工作才能進行。

轉載請注明出處。







相關文章
熱門資訊
精彩導讀



















關注我們

