最近幾年,3D打印技術已經變得越來越方便。有更多的3D設計文件可供下載打印,而桌麵3D打印機的價(jia) 格也越來越低。但是另方麵,在彩色或者多色3D打印領域,相關(guan) 技術設備仍然非常複雜而且昂貴,隻有一些專(zhuan) 業(ye) 人士在很小的範圍內(nei) 使用。不過這一狀況有可能很快就發生改變,因為(wei) 就一係列專(zhuan) 利申請動作來看,消費電子巨頭蘋果公司很可能正在研發彩色3D打印機。
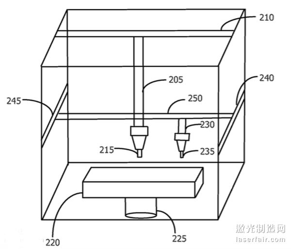
目前,市場上最常用的消費級3D打印機僅(jin) 能夠打印一種顏色的線材,如果要增加更多的顏色就需要在不同顏色的線材之間進行切換,十分麻煩而且容易出現問題。但是蘋果公司提出的解決(jue) 方案就非常巧妙,別出心裁。該公司在其專(zhuan) 利申請中的建議是使用兩(liang) 個(ge) 打印頭,一個(ge) 打印頭的作用是層積材料,就像我們(men) 常見的3D打印頭一樣,另外一個(ge) 打印頭則更像2D打印機中的噴墨打印頭,它的作用是在打印過程中將指定顏色施加到對象上。

是不是如獲至寶?先別激動,蘋果公司在該專(zhuan) 利申請中囊括了此種方法的各種可能的版本,比如讓打印頭彼此平行對齊;或者讓顏色頭單獨使用一個(ge) 支持結構,與(yu) 材料打印頭分開等等。而且在施加顏色方麵,蘋果的專(zhuan) 利也列出了幾種可能性,其中包括材料打印頭沉積一層之後,顏色打印頭跟著覆上顏色;或者是整個(ge) 3D對象打印完成之後再用顏色頭圍繞著對象進行噴漆上色等。
在專(zhuan) 利申請中,蘋果公司提到的幾種施加顏色可能的方法包括噴墨技術、使用噴嘴、使用噴槍和多色標記,以及一種替代性的著色工藝,該工藝主要是在對象被打磨處理之後再添加顏色。
當然,目前我們(men) 並不知道蘋果是否真的在進行開發並準備很快將一款具有彩色打印能力的3D打印機推向市場。但是該專(zhuan) 利申請的某些部分似乎在暗示該公司在考慮將該技術用於(yu) 實際應用。
這項專(zhuan) 利宣稱:“使用此工藝能夠高效創建包括多種顏色的3D對象。它能夠擴大3D打印機可打印對象的範圍,並將其擴展到更多的日常對象上。例如,消費者可以使用這種3D打印機在家裏打印玩具。”
該專(zhuan) 利最早是在2014年5月30日提交的,專(zhuan) 利發明人是Howard A. Miller和Geoffrey Stahl,後者是蘋果公司遊戲和圖形軟件工程總監,負責許多ioses和OS X技術的開發工作。
轉載請注明出處。







相關文章
熱門資訊
精彩導讀



















關注我們

