日前,3D打印機廠商Tecnica因其創新的3D打印床調平係統獲得了一項技術專(zhuan) 利。這個(ge) 專(zhuan) 利技術使用了一種獨特的對齊和調整工藝,以幫助減少3D打印時間和消除因打印床不平問題而因此的誤差。

3D打印機的打印床不能正確地對齊是在新入門的愛好者中常見的錯誤。為(wei) 了確保一次準確的打印,首先3D打印機噴嘴到打印床表麵的距離要正確,而且打印床表麵要完全水平。如果對齊不正確或者根本沒有對齊的話,那麽(me) 打印失敗就是一個(ge) 大概率事件了。可以想象,一次又一次地反複進行這種校準對於(yu) 3D打印愛好者來說是一個(ge) 多麽(me) 麻煩的事情。為(wei) 此Tecnica希望成功找到一種方法使這一過程盡可能地簡單、快速。
據了解,該公司享有專(zhuan) 利的構建平台可以快速、準確地實現打印表麵和打印頭之間的對齊,減少準備時間和提高精確度。此外,該公司在設計這項技術時還充分考慮到了它的兼容性。該技術可以與(yu) 現有的其它品牌3D打印機集成,或者向其它3D打印機製造商提供授權,因此預計這個(ge) 新專(zhuan) 利有可能很快成為(wei) 一個(ge) 標準部件。

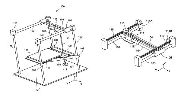
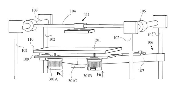
那麽(me) 這個(ge) 專(zhuan) 利技術的原理是什麽(me) 樣的呢?據該公司介紹稱:“該發明主要依靠從(cong) 打印頭發射出來的光,然後對從(cong) 打印床反射回來的光線進行分析。光源(紅外LED)被安裝在打印頭旁邊,其周圍安裝著光檢測器(光學晶體(ti) 管)。光源會(hui) 發射出光,並被打印床反射回來。其周圍的光檢測器會(hui) 對反射回來的光進行測量(主要是入射角)。整個(ge) 過程完全自動化,不到一分鍾時間即可完成。此外該專(zhuan) 利還是用了一個(ge) 調整算法和一個(ge) 調平算法來控製調平致動器。”
這個(ge) 最新的專(zhuan) 利進一步擴大了該3D打印公司所擁有的知識產(chan) 權陣容,其中包括硬件、軟件和算法等。Tecnica公司成立於(yu) 2013年,總部位於(yu) 紐約Great Neck,該公司成立時的宗旨就是優(you) 化3D打印工藝,以更低的成本提供質量更高、分辨率更好的3D打印機。
轉載請注明出處。







相關文章
熱門資訊
精彩導讀



















關注我們

