台達控製係統機械手的應用規劃及效果
1、 自定義(yi) 程序實現原理
1) PLC程序記錄用戶按鍵順序,來確定執行功能順序。
2)按鍵功能可以重複使用,若程序輸入錯誤可以按順序清除後重新輸入,或者撤銷一步清除一個(ge) 功能。
3)提供輸入點判斷功能(取物成功)用戶程序具有存儲(chu) 功能目前最多可以存儲(chu) 10組工藝程序。

PLC程序實現方法:

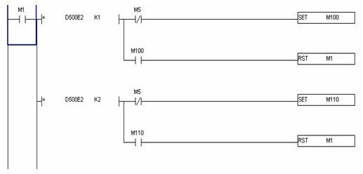
M11對應人機界麵上按鍵取物氣動,當按下按鍵後將按鍵對應的數值存儲(chu) 在PLC,D500開始的區間內(nei) ,使用E1做地址修飾。然後將E1自增1,複位M11,表示一個(ge) 動作已經存儲(chu) 完畢。用戶隻需要按安照工藝順序依次按下按鍵即可將動作順序存入PLC,根據PLC中存儲(chu) 的順序調用子程序。 當自動運行開始M1標誌有效,E2是自動程序順序指針初始值是1代表程序執行用戶所輸入的第一個(ge) 動作,每執行一個(ge) 動作E2自增一也就是D500E2地址偏移一個(ge) 位置。M100為(wei) 調用子程序標誌。每一個(ge) 動作就是一個(ge) 子程序。 2、程序修改方法 當按下清除一步M2636標誌位有效,將指針計數E1自減1(即將D500E1地址倒退一步)並且將當前步的按鍵數值清除,並且複位M2636。程序也提供程序全部清除功能,如果需要也可以增加插入或修改某一條功能。 3、提供用戶所編寫(xie) 工藝程序顯示畫麵,在編寫(xie) 程序時候用戶可以隨時檢查輸入是否正確。具體(ti) 實現方法如下: 使用一般型信息顯示組件,將新增刪除狀態總數設置成256如下圖,數值單位WORD讀取地址D500通過更改組件編即對應D500數據區數值來顯示用戶所編寫(xie) 的工藝程序。


4、 程序具有實時監控功能

如上圖,“夾物啟”位置就是顯示目前程序所執行的步驟,本界麵也可以通過讀取程序按鍵來選取工藝程序。目前該程序在設備上運行穩定,用戶滿意。已經將原有PLC編寫(xie) 的程序完全替換掉。
轉載請注明出處。







相關文章
熱門資訊
精彩導讀



















關注我們

