閱讀 | 訂閱
閱讀 | 訂閱
汽車製造

汽車激光焊接常見缺陷及解決方案

星之球激光 來源:法利萊2015-09-21 我要評論(0 )   

  激光焊接目前參照標準不統一,對於(yu) 汽車行業(ye) 自動化程度較高的加工,建立統一的工藝標準,有利於(yu) 設備的推廣。

  激光焊接目前參照標準不統一,對於汽車行業自動化程度較高的加工,建立統一的工藝標準,有利於設備的推廣。文章後部分析總結激光焊接常出現的缺陷,並給出解決方案。
  一、國外激光焊接汽車標準
  關於大眾汽車的激光焊接標準
  1、板材要求參考DIN 18800 Part7,Section3.4,或DVS Code of Practice 0705,Section3.2。適用碳鋼板板材厚度0.5~3.0mm,板材結構承受靜載。板材包括焊縫接頭類型,材料種類(參考DIN EN ISO13919-1)
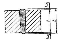
  2、激光焊接焊縫按照要求進行一些強製性的檢測,焊縫橫截麵外觀尺寸參考DIN 32511進行,主要包括餘高、熔深、熔寬、焊接深度、板材厚度等,參見圖1。
  
圖1   激光焊接橫截麵尺寸
  3、激光焊接要求
  參照DVS 3203 Part 3,材料分成冷軋鋼板( DIN 1623 Part 1,即EN10027)、軋帶鋼(DIN 1624,即EN 10027),熱軋帶鋼板(C<0.20%,TL 1111)、冷軋窄帶板(參見DIN 17100,即EN 10027),對於鋼板中碳含量大於0.22%,或鋅層厚度大於7.5um,需要谘詢工程師。
  4、焊縫設計
  焊縫可焊性主要考慮三個因素:設計,材料和生產。焊縫的主要設計特性包括負載特性、焊縫參數、裝夾、工件的可容允度、焊後處理等,參見DIN 8528 Part 1。
  4.1設計布局(參見DVS 3203-4)
  主要考慮接頭類型(對接、角接、搭接、疊焊、卷邊等)、焊縫類型(包括位置等信息)如果是鍍鋅板,平板對接間隙控製在0.05~0.1mm,角焊縫單邊角度大於10°。
  4.2工藝和質量保證
  焊縫質量參見EN 729 Part 1 ,全麵的質量要求參見EN 729 Part 2。
  當沒有明確說明時,可參見通用標準EN 25817 和En ISO 13919-1,一般情況下滿足B級要求。
  評價標準:外部缺陷或成型標準參見EN 970,用五倍放大鏡觀察焊縫成型即可。
  破壞性試驗:如圖所示未熔合是焊接缺陷中的一種。
  a 激光焊接缺陷     b 疊焊橫截麵尺寸
  c 搭接橫截麵尺寸
  
圖2   激光焊接橫截麵尺寸
  焊縫圖紙參見En 22553執行,其標注,焊接方法對應代碼等要一一對應。
  二、激光焊縫缺陷及原因對策:
  1、焊接飛濺: 激光焊接完成後,材料或工件表麵出現多的金屬顆粒,附著於材料或工件表麵。
  原因:材料或工件表麵未清洗,存在油漬或汙染物,也可能是鍍鋅層的揮發所致。
  對策:激光焊前清洗材料或工件。
  2、焊縫堆積:填充焊時焊縫填充材料明顯太多,焊縫太高。
  原因:焊接時送絲速度過快或焊接速度太慢。
  對策:增加焊接速度或減小送絲速度,或減小激光功率。
  3、焊偏:焊縫金屬不在接頭結構中心凝固。
  原因:焊接時定位不準,或填充焊時光與絲的對位不準。
  對策:調整焊接定位,或調整填充焊時光與絲的位置,以及光、絲與焊縫的位置。
  4、焊縫凹陷:焊縫金屬表麵出現凹下的現象。
  原因:釺焊時,焊接光斑中心位置不良所致,光斑中心靠近下層板材且偏離焊縫中心位置,造成部分母材熔化。
  對策:調整光、絲匹配。
  5、焊縫中斷或粗細不均勻:焊縫釺焊時,未送絲而形成焊縫中斷或粗細不均勻。
  原因:送絲不穩定,或出光不連續等。
  對策:調整設備的穩定性。
  6、氣孔:焊縫表麵出現氣孔。
  原因:焊縫表麵未清理,或鍍鋅板鋅蒸氣的揮發所致。
  對策:清理焊縫表麵,改善鋅受熱時的揮發。
  7、焊瘤:在焊縫軌跡發生大的變化時,容易在轉角處出現焊瘤或成型不均等現象。
  原因:焊縫軌跡變化大,示教不均勻所致。
  對策:在最優參數下焊接,且調整好示教以連貫過度轉角處。

轉載請注明出處。

免責聲明

① 凡本網未注明其他出處的作品,版權均屬於(yu) fun88网页下载,未經本網授權不得轉載、摘編或利用其它方式使用。獲本網授權使用作品的,應在授權範圍內(nei) 使 用,並注明"來源:fun88网页下载”。違反上述聲明者,本網將追究其相關(guan) 責任。
② 凡本網注明其他來源的作品及圖片,均轉載自其它媒體(ti) ,轉載目的在於(yu) 傳(chuan) 遞更多信息,並不代表本媒讚同其觀點和對其真實性負責,版權歸原作者所有,如有侵權請聯係我們(men) 刪除。
③ 任何單位或個(ge) 人認為(wei) 本網內(nei) 容可能涉嫌侵犯其合法權益,請及時向本網提出書(shu) 麵權利通知,並提供身份證明、權屬證明、具體(ti) 鏈接(URL)及詳細侵權情況證明。本網在收到上述法律文件後,將會(hui) 依法盡快移除相關(guan) 涉嫌侵權的內(nei) 容。

網友點評
0相關評論
精彩導讀